我们需要将NFT转移到第2层生态系统以降低费用。然而,这样正确做到这一点需要良好的跨Rollup可移植性标准,从而生态系统可以避免被锁定在一个特定的L2中。——VitalikButerin
NFT生态系统正在迅速发展,已经成为以太坊链gas消耗的重要组成部分。NFT生态系统的年轻化和相对缺乏根基,以及由于NFT的很大一部分的非金融性质而更需要避免高额费用,这也使得NFT成为转移到第2层网络的主要目标。然而,这就提出了如何将NFT迁移到Layer2的问题。
一个简单的提案是:在社区内协调将NFT迁移到单个Rollup平台,但这存在一些重要的缺点:
所有现有的支持EVM的主要Rollup平台都有后门、集中排序或其他实验性功能,将整个生态系统交给单个Rollup是有风险的,而Rollup将如何超越这些功能存在不确定性。
NFT生态系统可能会变得太大,以至于单个Rollup无法安全处理
NFT生态系统的任何部分,甚至整个NFT生态系统,都不是封闭的世界;他们将需要与以太坊生态系统的其他部分进行互操作
这篇文章提出了一种关于如何使NFT跨Rollup友好的提案,允许NFT移动到整个Layer2生态系统。
提议的解决方案1
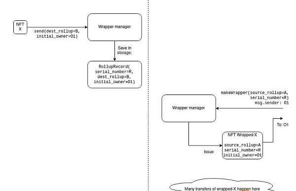
NFT将首先在一个Rollup中注册。通过创建一个封装NFT,NFT可以在其他Rollup之间跳转。
封装NFT的过程如下:
在RollupA上,将NFT发送到封装管理器合约,指定(i)目的地Rollup和(ii)初始所有者。密码箱合约在存储中保存一条记录,为X分配一个新的序列号R,并保存目标Rollup和目标Rollup的初始所有者
在RollupB上,任何人都可以使用RollupB上的封装管理器合约创建封装NFT。创建一个封装NFT需要指定源Rollup和序列号。创建X的一个「有效」封装NFT只能由指定的所有者并通过声明(R,A)作为序列号和源Rollup来完成。请注意,可能会创建一个无指向内容的无效封装NFT;RollupB不知道什么是有效和无效。封装管理器合约存储元组并防止使用同一个元组创建多个NFT。
要从密码箱中提取NFT,RollupB上的封装-X的当前所有者必须将其发送回封装管理器,后者会发出收据,说明「序列号为R、源汇总A和初始所有者O1的NFT刚刚接触封装,带有想要的新所有者O2」。
密码箱合约可以在收到汇总B上的收据的证明时将X交给O2,并根据自己存储的信息检查序列号、源Rollup和初始所有者,并验证它是否通过。


请注意,提款会有一个时间延迟,因为OptimisticRollup状态根需要大约1周的时间延迟才能最终确定,以便验证收据。到目前为止,更快地进行多跳的唯一方法是进行多层封装。
为了让用户验证封装-X是否合法,他们需要自己验证RollupB上的状态和RollupA上的收据。
扩展:添加跨Rollup传输
在汇总B上,wrapped-X的所有者可以将其发送给包装管理器,并附上发出不同收据的指令:「序列号为R、源RollupA和初始所有者O1的NFT刚刚移至RollupC,与想要的新所有者O2」。
OKEx将于5月26日19时暂停VITE充提:据官网公告,由于VITE主网升级 ,OKEx将于2020年5月26日19:00 暂停VITE的充提,待升级完成后开放。[2020/5/26]
在RollupC上,任何人都可以通过指定原始源Rollup、序列号和初始所有者来制作封装-X对象,并且RollupC上的此封装-X可以自由交易。但是,为了能够撤回封装-X,需要将RollupB的收据发送到RollupA。
实际发生的事情是,当NFT从一个Rollup移动到另一个Rollup时,转移链留下了一个收据链,该收据链中的每一个收据都被镜像到RollupA并在某个时间点按顺序处理。未来,当其他Rollup的状态最终确定时。
为了让用户验证封装的X是合法的,他们需要验证反映跨Rollup转移的所有Rollup上的整个收据链。
此外请注意,该协议可以简化:「提款」只是一个跨Rollup转移RollupA,如果认识到RollupA发布的特定序列号现在在RollupA上,那么该封装的合约可以直接兑换。
扩展2:基础链上的gas优化发行
所有NFT都可以以这样的方式发行,即它们由以太坊基础链上的密码箱合约「拥有」。为了使这种gas高效,密码箱合约将获得生成一整套序列号并将它们传输到Rollup的功能。实际上,所有NFT都是预先创建的,但尚未分配给其中任何一个「意义」,并且它们被批量转移到Rollup。
「发行」的过程现在变成了赋予意义的过程。这可以通过在收据中传递「含义哈希」来完成,就像传递所有者的方式一样:如果NFT没有意义,所有者可以为其分配一个含义,转动它变成了一个「差异化」的NFT。基础链只有在验证收据链后才知道NFT的含义,直到分配含义为止。
这允许所有NFT都在基础链中「扎根」,而不是Rollup。这对于处理Rollup中断或以其他方式变得不可行以及应用需要永久迁移到其他域的情况很有用。
近期,由Axie等Gamefi和NFT等引发的元宇宙概念不仅在加密货币领域火爆,同样也溢出到A股资本市场.
头条 ▌AMCCEO:AMC计划接受ETH、LTC和BCH支付9月16日消息,AMC公司首席执行官AdamAron发推称,AMC院线此前已经宣布,到2021年年底将接受比特币在线购票和优惠支付.
9月10日消息,乌克兰最高拉达通过了虚拟资产法案,加密货币等虚拟资产在该国正式合法化。据中币研究院了解,虚拟资产法案对虚拟资产的定义包括了比特币等加密货币,也包含了代币化的资产.
Cardano计划于9月12日进行Alonzo硬分叉升级,将增加对智能合约的支持,引入用于构建智能合约的多功能平台.
在《理解媒介》中,McLuhan提出了冷热媒介的概念。电影就是一种「热媒介」,具有高清晰度,但是使用的时候,也被媒介定义了唯一的参与方式.
据北京商报消息,9月10日,在北京市地方金融监督管理局联合中国人民银行数字货币研究所、丰台区人民政府、亚洲金融合作协会等单位在北京丰台丽泽金融商务区举办的2021中国数字金融论坛上.