又是一场资本盛宴!
创业九年,Keep终于跨过了上市这道门槛,如愿成为港股“运动科技第一股”。
曾几何时,步数排行成了朋友圈的热词,于是趣步App趁势崛起并迅速衰落;
后来,跑步、健身又成为朋友圈“新贵”,各大运动健身App再次群雄逐鹿,最终Keep杀出重围,三闯港交所而成名!

作为国内运动科技赛道规模最大、营收最多的公司,Keep在国内拥有3亿注册用户,3640万活跃用户,在iOS中国区健康医美类目排名第一。
可至今还没有盈利,3年亏损16亿,变现和减肥一样难...这些都是Keep不愿提及的痛,甚至不少人开始质疑,Keep究竟是凭什么撑起150亿市值?
壹
三度闯关港交所后,国内最大在线健身平台Keep终于成功登陆资本市场。
7月12日,Keep终于在港上市,创始人王宁在港交所敲响了上市铜锣,“港股运动科技第一股”就此诞生!

上市首日,Keep高开4.77%,盘中却一度破发,最终报收29港元/股,相较发售价28.92港元/股微涨0.28%,总市值152亿港元。

Keep的上市之路可谓是一波三折。
2022年2月25日和9月6日,Keep便先后两次向港交所递表,但均因6个月内未通过聆讯,IPO申请状态转为“失效”。
今年3月份,Keep再次更新赴港IPO招股书,终于在6月21日通过聆讯。
也就是说,自2022年2月至今,不到一年半的时间里三闯港股IPO,Keep的坚持终于收获了回报!
这个因创始人失恋减肥而诞生的App,不仅让王宁实现财富自由,参与Keep融资的腾讯投资、高盛集团、软银集团、高瓴等机构也将一同共享这场难得的资本盛宴!
不过,与同等用户体量的互联网公司上市盛况相比,Keep首次上市却异常地低调,没有举办大规模敲钟仪式,没有高管采访问答环节,甚至连现场直播都没有,一切显得有些“静悄悄”。
究其根本,上线运营9年多的Keep,目前仍在亏损中...背靠多家豪华投资方且成功上市的Keep,仍需向外界证明其盈利能力。
外界常常拿来对标的、纳斯达克上市的智能健身第一股Peloton,目前市值约在33.5亿美元。
截止今日收盘,Keep跌幅缩窄至0.34%,报28.9港元/股,最新市值亿151.92亿港元。

贰
当然,港股市场的表现受到多种因素的影响,包括宏观经济环境、行业前景、公司财务状况等。
因此,不能仅凭一两天的高开低走来预测Keep未来的股价走势,一切最终看的还是公司基本盘!
据招股书,2020至2022年,其经调整的亏损净额分别为1.06亿元、8.27亿元、6.67亿元,三年累计亏损16亿元。

2023年第一季度,经调整后净亏损金额为1.18亿元,虽说同期有所收窄,但Keep仍在亏损中。
Keep的当务之急不是股价,而是盈利!
回顾Keep的发展之路,不难看出这又是资本狂欢背后所产生的后遗症。
2014年,在大学读书的王宁还是个180斤的胖小伙。毕业前,他遭遇了可怕的失恋打击,减肥就成了他那个夏天最重要的事。
6个月,从180斤减到128斤,王宁的这段减肥经历不仅励志,还成功触发了其创业的灵感,Keep就此成立!
彼时全民运动风靡,健身文化正在被主流大众接受,也恰逢移动互联网风口崛起之际;与传统的健身方式相比,健身APP操作简单、功能齐全、随时都可以使用的优势赢得了许多年轻人的青睐。

公开数据显示,Keep从2015年2月上线App,突破100万用户只用了105天;第921天,用户数量突破1亿大关。
之后Keep开始加速商业化,发展出自有品牌运动产品销售、会员订阅和线上内容消费、广告等商业模式。
到上市前的2022年,Keep已经拥有3640万月活用户,年收入达22.11亿元。
不得不说,在内容匮乏、缺少健身标准化资源的时期,聚合的健身课程为Keep赢得了大量用户。
而Keep也因此获得了众多资本的青睐。
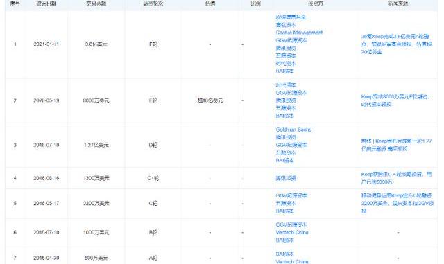
据天眼查,截至上市前,Keep已完成多轮融资,投资机构中不乏GGV纪源资本、五源资本、腾讯、VentechChina、软银愿景基金、高瓴、时代资本、BAI资本等知名机构和企业。其中,GGV纪源资本、五源资本、腾讯、时代资本等参与了Keep的多轮融资。

相信对于这些投资方而言,Keep尽快完成IPO,他们才有机会退出。
这也是Keep多年来与资本互相伴生带来的结果,所以Keep上市就成了“众目所盼”。
叁
“自律给我自由”!
Keep的Slogan相当地“抓人心”,可Keep的财富自由又是谁能给的呢?
作为中国最大的线上健身平台,Keep目前仍未实现盈利。
据招股书,2019至2022年,Keep分别实现营收6.63亿、11.07亿、16.20亿、22.1亿;同期经调整亏损分别为3.66亿、1.06亿、8.27亿、10.67亿。
2023年第一季度,Keep实现营收4.47亿元,同比增长7.2%。
非国际财务报告准则下,Keep第一季度经调整后净亏损金额为1.18亿元,相比上年同期收窄23.87%,但Keep仍在亏损中。
从其招股书可以看出,Keep的营收在持续增长,同时亏损也是其当务之急。
而Keep的主要营收来源包括:会员订阅及线上付费、自有品牌产品、以及广告和其他服务;
其中自有品牌产品是收入大头,包括智能健身设备、健身装备、服饰、食品等商品。
2020-2022年Keep自有品牌运动产品的销售额分别为6.37亿元、8.73亿元、11.37亿元,收入占比均超过50%。

内容社区作为互联网产品的一个类型,其在维护用户粘性上有着极大的优势,尤其对于Keep这类以专业知识为主的内容平台而言,社区的存在保证了用户的参与度与活跃度。
然而一个残酷的现实是,内容社区往往难以盈利,这也是为什么Keep要转型大力做消费品业务的原因。
值得注意的是,Keep的亏损收窄,或在一定程度上与销售及营销开支的减少有关。
2020年至2022年,Keep营销费用达到人民币3.02亿元、9.56亿元和6.46亿元,占总收入比重分别为27.3%、59.0%和29.2%。

2022年缩减营销费用后,Keep亏损明显收窄。可以看出,Keep的持续亏损,与其营销费用过高密切相关。
肆
过去十年,在新一代信息技术和资本力量的推动下,移动互联网和体育运动产业都发生了巨变。
携带互联网基因的Keep,自诞生之日就兼具内容,又延伸健身硬件整体生态,随着互联网环境的改变,存量市场的空间已无法满足Keep的增长需求,留住既有用户显得尤为重要。

招股书显示,2020-2022年,Keep平台平均月活跃用户分别为2970万、3440万、3640万,平均月度订阅会员数分别为191万、328万、362万。
尽管订阅会员数一直在增加,但是,2020-2022年,Keep的月会员留存率分别为73.3%、71.7%及65.3%,留存率持续下跌到70%以下。
可以看出,一旦过了流量红利期,增长停滞,拓展变现模式就成了当务之急。
毫无疑问,Keep如何keep变现、盈利,才是目前Keep最该考虑的问题?
据灼识咨询发布的数据,2022年中国健身人群在全民中的渗透率为26.5%,美国的这一数字为47.8%,欧洲则为42.5%。
从个体消费力来看,2022年中国健身人群的个人年均开支为2518元,远低于美国的16425元,蕴藏着有待开掘的巨大空间。
暂且不说健身是个“逆人性”的苦活,目前整个流量市场的环境也发生了较大变化,“在流量层面,以前广告主愿意买单,现在的投入越来越小了;而在分发层面,过去的高质量用户人均消费可能会较高,现在市场的人均消费不像以前那么强劲了。”
更重要的是,健身IP巩固的内容护城河是否牢固?
眼下Keep要面对的竞争对手已经不止是糖豆、薄荷健康这些垂类选手,还有拥有刘畊宏、帕梅拉等一众居家运动达人入驻的抖音。
在这样的局面下,即便已经成功上市,Keep仍亟需一段新的故事,在重振投资人信心的同时完成自救。
只是,Keep的资本故事还有吸引力吗?
你,看好Keep吗?
参考资料:
《Keep终于上市了》,经济观察报
《Keep上市成功,但变现和减肥一样难》,锌财经
《三冲港交所后,Keep的漫长征程才刚开始》,TopKlout克劳锐
《上市首日盘中破发,Keep靠什么支撑152亿港元估值?》,巴伦周刊
《“资本宠儿”Keep融资已到F轮,3年亏损15亿,造血问题仍未解决?》,翠鸟资本
事件关注 7月13日,海关总署新闻发言人、统计分析司司长吕大良在国新办发布会上表示,上半年我国外贸进出口规模在历史同期首次突破20万亿元.
人民币升破七点一九五,天大涨一千点,恒生科技一度逼近三个点,a股犹豫不决,汽车产业链领涨,两市智能电网震荡走高,科技算力出现调整.
2023年7月6日,北京保利2023春拍陶瓷类别“十面观止—诸家藏重要中国陶瓷”、“国钧—当代钧瓷大宋官窑专场”、“破尘—雍正御窑妙境”专场举槌.
近日,知名油气网站Rigzone消息称,中海油正计划与坦桑尼亚国有的坦桑尼亚石油开发公司(TanzanPetroleumDevelopmentCorp.
图片来源:新华社 ■中国经济时报记者郭锦辉热点:7月11日,中国外汇交易中心公布的银行间外汇市场人民币汇率中间价显示,1美元对人民币7.1886元.
7月12日,招商银行在京举办“新时代·新财富·新价值——2023财富合作伙伴论坛”,超70家基金、理财、保险机构参会.